Aparat de sudură pentru țevi – PW-25
1.Interfață grafică intuitivă pentru utilizator.
2.Suport pentru aplicații de sudare a țevilor și de sudare în șa.
3.Control precis al conturului de creștere și scădere.
4.Conversie automată între diametrul țevii, viteza de rotație și
viteza liniară.
5.Unități de reglare pentru poziționarea precisă a pistoletului.
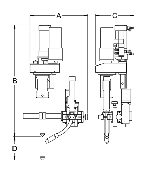
| Model | Unit | PW-25 | PW-150 |
|---|---|---|---|
| Putere de intrare | 1Ø 100~240VAC 50/60Hz | 1Ø 100~240VAC 50/60Hz | |
| Cursa pistolet (D) | mm | 75 | 75 |
| Intervalul de creștere și scădere | mm | 25 | 150 |
| Viteza de rotatie | rpm | A:0.3~4 B:0.6~8 C:0.8~12 D:1~16 | A:0.3~4 B:0.6~8 C:0.8~12 D:1~16 |
| Dimensiuni (A x B x C) | mm | 470 x 715 x 245 | 470 x 715 x 245 |
| Greutate | kg | 38 | 45 |



Recenzii
Nu există recenzii până acum.